86-021-54422420 13818829143
86-021-54422402 17701898099
All products
聯軸器 Coupling
傳動輪 Pulley
脹套 Lock
絲桿導軌 ScrewGuide
離合制動器 Clutch
傳動器 Actuators
皮帶 Belt
電機 Motor
軸承 Bearing



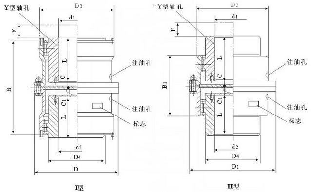
鼓形齒式聯軸器具有小型、傳遞扭矩大,吸收聯接誤差能力強,并具有優良的耐久性等優點,是中型和重型機械中 最常見的聯接兩傳動軸的部件。 工程實際中,由于制造和安裝誤差,零件的變形、磨損、基礎的下沉等原因,將引起兩軸軸線位置的偏移,發生軸向位移、徑向位移、角位 移和綜合位移等。
WGC型鼓形齒式聯軸器:(JB/T 7002-93)
| 型號 | 公稱 | 許用 | 軸孔 | 軸孔 | D | D1 | D2 | D3 | D4 | B | B1 | F | C | C1 | 質量 | 轉動慣量 | 潤滑脂 kg | |||||
| 轉矩 | 轉速 | 直徑 | 長度L | kg | kg.m2 | |||||||||||||||||
| Tn | [n] | d1、d2 | Ⅰ | Ⅱ | ||||||||||||||||||
| N.m | r.min-1 | Y | Ⅰ | Ⅱ | Ⅰ | Ⅱ | Ⅰ | Ⅱ | 上 | 下 | 上,下 | |||||||||||
| WGC1 | 710 | 7500 | 12-42 | 32-112 | 122 | 115 | 98 | 88 | 60 | 116 | 100 | 30 | 6-30 | 6-14 | 14-30 | 5.8 | 5.1 | 0.0079 | 0.0064 | 0.07 | 0.016 | 0.052 |
| WGC2 | 1250 | 6700 | 22-56 | 52-112 | 150 | 145 | 118 | 108 | 77 | 136 | 104 | 30 | 7-20 | 7 | 16-20 | 10 | 7.9 | 0.022 | 0.017 | 0.095 | 0.025 | 0.069 |
| WGC3 | 2500 | 6300 | 22-63 | 52-142 | 170 | 165 | 140 | 125 | 90 | 160 | 108 | 30 | 7-33 | 7 | 20-33 | 17 | 17.8 | 0.047 | 0.033 | 0.17 | 0.07 | 0.11 |
| WGC4 | 4500 | 5600 | 30-80 | 82-172 | 200 | 195 | 160 | 145 | 112 | 180 | 116 | 30 | 7-13 | 7 | 20 | 26.2 | 20.5 | 0.099 | 0.074 | 0.29 | 0.11 | 0.14 |
| WGC5 | 7100 | 5300 | 30-90 | 82-172 | 225 | 215 | 180 | 168 | 128 | 200 | 126 | 30 | 8-23 | 8 | 28 | 36.1 | 27.7 | 0.177 | 0.13 | 0.36 | 0.15 | 0.21 |
| WGC6 | 10000 | 5000 | 32-100 | 82-212 | 245 | 230 | 200 | 185 | 145 | 224 | 134 | 30 | 10-35 | 10 | 28-35 | 53.2 | 39.8 | 0.3 | 0.22 | 0.5 | 0.21 | 0.27 |
| WGC7 | 14000 | 4500 | 32-110 | 82-212 | 272 | 265 | 230 | 210 | 160 | 244 | 148 | 30 | 10-45 | 10 | 28-45 | 71.1 | 47.5 | 0.53 | 0.35 | 0.78 | 0.31 | 0.4 |
| WGC8 | 20000 | 4250 | 55-125 | 112-212 | 290 | 272 | 245 | 225 | 176 | 272 | 162 | 30 | 10-29 | 10 | 30 | 83 | 59.6 | 0.72 | 0.47 | 0.98 | 0.43 | 0.52 |
| WGC9 | 25000 | 4000 | 65-140 | 142 | 315 | 305 | 265 | 245 | 190 | 280 | 176 | 30 | 10 | 10 | 30 | 110 | 85 | 1.06 | 0.8 | 1.3 | 0.57 | 0.58 |
| WGC10 | 40000 | 3550 | 75-160 | 142 | 355 | 340 | 300 | 280 | 225 | 330 | 196 | 30 | 10-28 | 10 | 30 | 164 | 128 | 1.77 | 1.56 | 1.6 | 0.7 | 0.69 |
| WGC11 | 56000 | 3000 | 85-180 | 142 | 412 | 385 | 345 | 325 | 256 | 360 | 224 | 30 | 14-15 | 14 | 36 | 224 | 178 | 3.76 | 2.88 | 2.1 | 0.93 | 0.94 |
| WGC12 | 80000 | 2800 | 120-200 | 142 | 440 | 435 | 375 | 360 | 288 | 414 | 250 | 30 | 14 | 14 | 36 | 315 | 255 | 6.55 | 4.93 | 3.1 | 1.3 | 1.5 |
| WGC13 | 112000 | 2500 | 140-220 | 142 | 490 | 480 | 425 | 400 | 320 | 470 | 272 | 30 | 14 | 14 | 36 | 406 | 325 | 10.6 | 8 | 4.5 | 1.5 | 2.3 |
| WGC14 | 16000 | 2300 | 160-260 | 142 | 545 | 540 | 462 | 440 | 362 | 530 | 316 | 30 | 16 | 16 | 36 | 542 | 423 | 17.8 | 13.9 | 6.8 | 2.3 | 3.1 |
如何區分:
WG型--基本型;
WGP型--帶制動盤型,適用于與點盤式制動器配套;
WGZ型--帶制動輪型,適用于與瓦塊式制動器配套;
WGT型--接中間套型,適用于兩軸長距離聯接,許用轉速[n]取決于中間套的長度和質量,并應驗算臨界轉速;
WGC型--垂直安裝型,用于聯接垂直的兩軸線軸系傳動;
I型--密封端蓋為分離型,齒間距較大,可以允許較大的徑向位移,可與Y、J1、Z1型軸伸聯接;
II型--密封端蓋為整體型,齒間距小,相對允許徑向位移小,結構緊湊,轉動慣量小,可與Y、J1型軸伸聯接;

公司名稱:上海邁動機電設備有限公司
公司地址:上海青浦工業區崧海路98號
郵政編碼:201703
公司電話:021-54422420
公司傳真:021-54422420-801
郵箱:shmidon@126.com
戶名:上海邁動機電設備有限公司
稅號:310112660703692
開戶行:工行上海莘莊支行
賬號:1001140209007024765
電話:021-54422420 54422402
傳真:021-54422420-801
地址:上海莘莊工業園區申富路128號(開票)
地址:上海青浦工業園區崧海路98號(收貨地址)
上海邁動機電設備有限公司提供17%的增值稅發票;
品質100%保證,讓你更放心使用。
ADD:上海邁動機電設備有限公司 備案號:滬ICP備15037005
TEL:86-021-54422420,021-544227902 ,021-54422402 MB:13818829143,17701898099